Svet

Ste izvedeli kaj koristnega, novega, zanimivega… Kliknite tukaj in Žurnal24 izberite za svoj prednostni vir novic na Googlu.

Airbus: Z nadzvočnim letalom iz Londona v New York v uri in pol?

Letalo Airbus nadzvočno Žurnal24 main
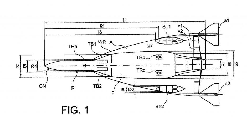
Evropski letalski gigant Airbus je v Združenih državah Amerike dobil dovoljenje za patent za izdelavo nadzvočnega letala. Dokumentu so priložil tudi skice.

Patent, ki ga je Aribus vložil že leta 2010, prejšnji mesec pa so jim ga odobrili, predvideva izgradnjo 'ultra hitrega letalskega vozila', ki bi potoval s 4,5 kratno hitrostjo zvoka. 

Letalo Airbus nadzvočno | Avtor: Žurnal24 main Žurnal24 main
Airbusov predstavnik za komuniciranje James Darcy poudarja, da je projekt še vedno v razvojni fazi in da morda sploh nikoli ne bo zaživel. 

"Airbus in njegova podjetja vsako leto zaprosijo za priznanje na stotine patentov, da bi tako zaščitili intelektualno lastnino," je Darcy povedal za CNN in dodal: "Ti patenti pogosto temeljijo na razvojnih konceptih in idejah, ki se še niso povsem razvili. Ni nujno, da iz patenta dejansko razvijemo produkt."

Letalo za poslovneže in VIP osebnosti

Podrobnosti glede vložitve zahteve za priznanje patenta ni želel komentirati: "Trenutno na to temo ne želimo dajati dodatnih izjav." Patent velja le eno leto, v priloženi dokumentaciji pa je zapisanom da naj bi letalo prevažalo poslovneže in VIP potnike.

Letalo Airbus nadzvočno | Avtor: Žurnal24 main Žurnal24 main
Oblika letala pa naj bi bila takšna, da se bo pok ob prebitju zvočnega zidu čimbolj ublažil. Concordovega naslednika naj bi poganjal tudi vodik, piše britanski Guardian, pri Airbusu pa so si zamislili, da bi letalo uporabljalo različne vrste motorjev, da bi doseglo prostor nad atmosfero, kjer bi letel s 4,5 kratno hitrostjo zvoka.

Za pristajanje in vzletanje bi še vedno uporabljali običajna letališča.Nadzvočno letalo bi predvidoma vzletelo skoraj navpično. Vzletelo bi s pomočjo klasičnih reaktivnih motorjev, nato pa bi mu pospešek dali raketni motorji, ki bi letalo ponesli nad atmosfero. 

Za pot iz Londona v New York dovolj le ena ura

Letalo Airbus nadzvočno | Avtor: Žurnal24 main Žurnal24 main
Pri Airbusu pravijo, da trenutno razvijajo dve nadzvočni letali, enega z japonskim partnerjem, pri drugem projektu so partnerju Rusi in Avstralci. Radi pa bi dosegli šestkratno hitrost zvoka. 

Letalo bi za pot iz Londona v New York potrebovalo eno uro. Za primerjavo, Concorde, pri izdelavi katerega je sodeloval tudi Airbus, je za pot iz britanske prestolnice v New York potreboval tri ure in pol. Po nesreči pred dvanajstimi leti so concorde iz letalskega prometa umaknili. 

dezurni@zurnal24.si

Komentarjev 2
  • zkvazdjkrregistracijozahtevate 03:00 08.avgust 2015.

    Točn tko k je napisan. Slinit se pred konceptom nečesa takšnega je preuranjeno. ogromno enih zanimivih futurističnih dobrih konceptov je nastal ampak samo konceptov. uresničenih konceptov v smislu realizacije - stvaritve v smislu funkcionalnosti v resničnem življenju pa je bore malo.