Avto

Ste izvedeli kaj koristnega, novega, zanimivega… Kliknite tukaj in Žurnal24 izberite za svoj prednostni vir novic na Googlu.

BMW patentiral posebne vijake - dokončen udarec domačim mojstrom?

BMW vijaki UI/Gemini
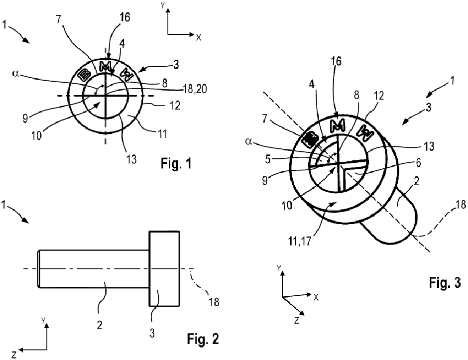
BMW je vložil vlogo za patent različnih vijakov s posebnimi glavami, ki niso združljive z običajnim servisnim orodjem, kot so Torx ali imbus nastavki.

Pri svetovni organizaciji za intelektualno lastnino (WIPO) je vloga pod številko DE469242297 še posebej zanimiva. Gre namreč za BMW patent nove posebne generacije vijakov, ki bi lahko pomembno vplivala na način servisiranja vozil, zlasti zunaj mreže pooblaščenih servisov.

Po poročanju strokovnega portala PMM gre za patent, ki vključuje več različnih izvedb glav vijakov, kot so cilindrične, ugrezne in prirobnične, pri čemer ključna inovacija ni v navoju, temveč v zasnovi same glave.

Ta je oblikovana tako, da ni združljiva z običajnim servisnim orodjem, kot so Torx ali imbus nastavki, temveč zahteva uporabo posebnega namenskega orodja. V nekaterih primerih so elementi glave povezani z oblikovnimi značilnostmi logotipa znamke. Posledično bi takšne vijake lahko odvijali in privijali le z ustrezno opremo, ki bi bila najverjetneje na voljo predvsem v pooblaščenih servisih.

V patentni dokumentaciji vložnik BMW kot razlog za razvoj novih vijakov navaja preprečevanje nepooblaščenih posegov v vozilo, zaščito določenih komponent ter zagotavljanje varnosti in integritete sistemov. Takšni posebni pritrdilni elementi sicer niso popolna novost v avtomobilski industriji, vendar BMW s tem pristopom odpira vprašanje nadaljnje zaprtosti servisnih ekosistemov.

BMW vijaki | Avtor: Patentni urad Patentni urad

Pri organizaciji Accu, ki je specializirana s področja inženiringa in izdelave avtomobilskih komponent, opozarjajo, da bi rešitev novih vijakov v serijski uporabi imela neposredne posledice za neodvisne serviserje in lastnike vozil. Dostop do določenih komponent bi bil omejen, kar bi povečalo odvisnost od uradnih servisnih mrež in otežilo samostojna popravila. Skratka, 'pravica do popravila', za katero se borijo potrošniške organizacije in organizacije samostojnih serviserjev, bi bila zelo na udaru.

Kako se novi vijaki razlikujejo od uveljavljenih?

Pri Accu so podrobno preučili patent in ugotavljajo, da vključuje več različnih izvedb glav vijakov, med drugim cilindrične (cap head), ugrezne (countersunk) in prirobnične (flanged).

Ker ima zasnova le dve točki naleganja, obstaja večje tveganje za zdrs orodja, če to ni popolnoma poravnano. Za doseganje enakega navora pri montaži brez poškodb vijaka mora biti njegova glava verjetno fizično večja kot pri primerljivih vijakih tipa Torx. Pri električnih vozilih, kjer vsak gram vpliva na doseg, ima lahko večja masa tisočev takšnih pritrdilnih elementov opazen vpliv, opozarjajo pri Accu. 

Druga ugotovitev je, da je mogoče do takšnega vijaka dostopati izključno od zgoraj. V nasprotju s šesterokotnimi vijaki, ki jih je mogoče dosegati iz več kotov, to povzroča težave v tesnih prostorih, na primer za armaturno ploščo ali v utesnjenih motornih prostorih.

Pri Accu dodajajo še, da bi zaradi vpeljave novega tipa vijakov in orodij zanje stroškovno breme nosila celotna dobavna veriga, medtem ko uveljavljeni standardi izkoriščajo prednosti razširjene in standardizirane infrastrukture.

Ker pa je ena ključnih vizuelnih značilnosti nove glave navezava na logotip BMW, pri Accu dopuščajo veliko verjetnost, da bodo oziroma bi takšne vijake uporabljali predvsem tam, kjer so vidni uporabniku, na primer pri okrasnih elementih, v notranjosti ali na dekorativnih delih.

Za zdaj sicer ostaja pri leta 2024 vloženem patentu, kar pomeni, da ni nujno, da bo takšna tehnologija dejansko našla pot v serijska vozila. Kljub temu pa razvoj jasno kaže smer, v katero želi zaviti del avtomobilske industrije.

*Fotografija zgoraj generirana z umetno inteligenco.

dezurni@styria-media.si

Komentarjev 17
  • Počasni 14:00 23.april 2026.

    Brez skrbi, Kitajci vse izdelajo. ali pa druga avtomobilska znamka, ki nima teh neumnosti

  • marusa98 22:30 21.april 2026.

    Spet bodo uradnim serviserjem dobro zaračunali menjavo orodij!

  • Skias 08:19 20.april 2026.

    Hmm pri kateri znamki sem že slišal za tako glupost hmm aja pa seveda Apple! To je samo za šminkanje. Vse kar rabiš je kovinsko palico žago za železo, pilo in brusni papir. Če je palica debelejša jo malo popiliš ...prikaži več urežeš not X in pomožnosti ta nasprotna dela, ki ju moraš odstraniti z žago vač ali man razžagaš + tega pa ni treba žagati globoko. Kot so že eni rekli. Če je tu šrauf je tudi ključ!