Avto

Ste izvedeli kaj koristnega, novega, zanimivega… Kliknite tukaj in Žurnal24 izberite za svoj prednostni vir novic na Googlu.

Porsche patentiral šesttaktni motor z notranjim zgorevanjem!

Porsche logotip volan Porsche
Porsche je predstavil idejo učinkovitega motorja, ki ne bi deloval štiritaktno, ampak še z dvema dodatnima taktoma. Kaj imajo v mislih?

Porsche je patentiral posebno zasnovo bencinskega motorja. Danes praktično vsi avti uporabljajo princip štiritaktnega motorja, pri katerem si med delovanjem v enem ciklu sledijo faze sesanje mešanice, stiskanje mešanica, delo oziroma eksplozija, izločanje izpušnih plinov. V zadnjih 150 letih smo videli določene variacije in dodelave posameznih faz, a princip delovanja je ostal enak in je sčasoma tudi povsem izrinil dvotaktne motorje. 

Inženirji nemške znamke Porsche so zdaj razvili in na pristojnem ameriškem uradu patentirali motor, za katerega opis pravi, da ima "šest individualnih taktov, ki se lahko razdelijo v dve tritaktni zaporedji."

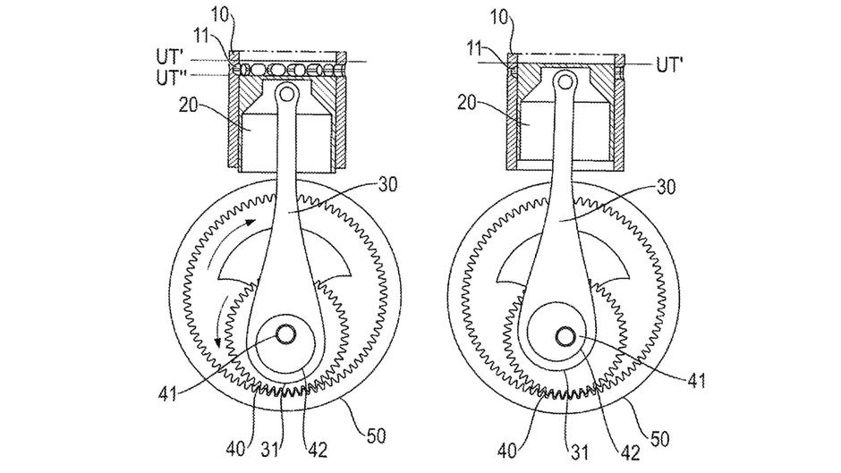
Porsche motor prototip | Avtor: Ameriški patentni urad Ameriški patentni urad

Po pisanju Motor1.com so pri Porscheju med tradicionalni fazi dela in izločanja (3 in 4) dodali še dodatni dve fazi. Prvo zaporedje bi bilo sesanje - stiskanje - delo, drugo pa stiskanje - delo - izpuh. To pomeni, da bi motor deloval na način dvojne eksplozije mešanice v valju. Da bi bilo to mogoče, so pri Porscheju očitno razvili posebno ročično gred, ki se vrti po obroču z dvema koncetričnima krogoma.

Na ta način so spremenili osrednjo točko vrtenja, kar zniža hod bata (spodnjo mrtvo točko) pri dodatnih taktih. Posledično se spremeni tudi kompresija, saj bat ne potuje tako visoko (zgornja mrtva točka) v valju. To pomeni, da ima ta motor dve zgornji in spodnji mrtvi točki.

V ozadju tega kompleksnega pristopa je večja moč ob boljši učinkovitosti. Namesto da bi samo en takt ustvarjal delo, sta pri tem motorju takšna dva takta, zato pride tudi do boljšega (čistejšega) zgorevanja gorivne zmesi, kakršnokoli gorivo bo že uporabljeno.

 Ali gre za eno največjih revolucij pri delovanju motorja z notranjim zgorevanjem, bo pokazal šele čas. Porsche bi moral zdaj patent razviti tako, da bi bil primeren za serijsko proizvodnjo. Če se bo to v resnici zgodilo, se motorju z notranjim zgorevanjem kljub trendu elektrifikacije morda napoveduje nova uspešna era.

dezurni@styria-media.si

Komentarjev 24
  • Drewua7416 07:02 19.junij 2025.

    🍓 Vroča dekleta čakajo na vas na 👉 𝗦𝗲𝘅𝘁𝗼.𝗹𝗶𝗳𝗲

  • 4krogci 19:31 21.september 2024.

    6taktni motor he le odgovor na Poršejevo trditev, da bo zadnji avto na svetu z motorjem na notranjo izgorevanje njihov model 911….in vse se vrti okoli tega, kako to dosect…mohoce je zdej patentiran 6taktni..ampak verjemte da bodo sli se dlje, ...prikaži več za dosego svoje obljube!

  • Avatar mahatma2
    mahatma2 18:16 21.september 2024.

    Še vedno bo izpuh, ki bo svinjal ozračje in ob dejstvu, da ta motor, čeprav bo recimo manj svinjal še dolgo ne bo zaživel v praksi in hkrati je tudi bolj zakompliciran za izdelavo od klasičnega štiritaktnega motorja in veliko ...prikaži večo bolj kot pa električni. Že Tesla je videl v elektriki potencial, ki je veliko bolj primeren kot pa fosilna goriva in to še vedno popolnoma drži. Seveda marsikaj bi sčasoma postalo tudi problem pri elektriki. razgradnja baterij in podobno. Pa vseeno, bodočnost je elektrika.