Avto

Ste izvedeli kaj koristnega, novega, zanimivega… Kliknite tukaj in Žurnal24 izberite za svoj prednostni vir novic na Googlu.

Pripravlja se revolucija pri avtomobilskih brisalcih

electrek
Ameriški proizvajalec električnih vozil Tesla razvija novo tehnologijo.

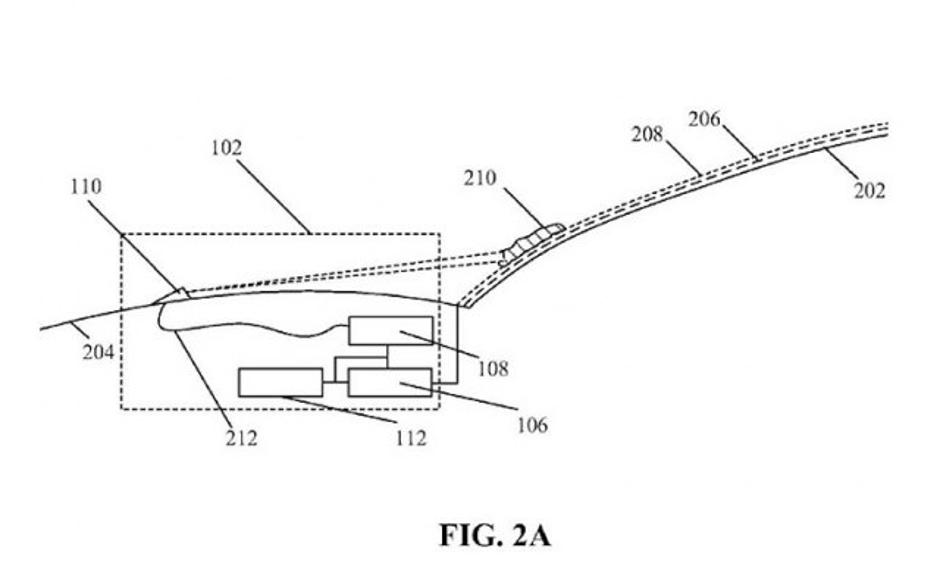
Tesli je uspelo pridobiti patent za divjo idejo o uporabi laserjev za čiščenje padavin z vetrobranskega stekla. Gre za uporabo laserskih žarkov kot brisalcev vetrobranskega stekla.

Brisalci Mrzla jutra Avto Ne počnite tega z brisalci

Pri proizvajalcu električnih vozil naj bi že leta 2019 začeli delati na ideji čiščenja vetrobranskega stekla z laserskimi žarki. Dve leti kasneje je bil patent podjetja Tesla Motors za laserske brisalce zaščiten v patentnem uradu v ZDA, piše spletna stran electrek.
Tehnologija se uradno imenuje "impulzno lasersko čiščenje naplavin, nabranih na steklenih predmetih v vozilih in fotovoltaičnih sklopih". Ugiba se, da bi lahko bila tehnologija premierno predstavljena na modelu tesla cybertruck. Razlog je v tem, da prototip tega vozila, predstavljen novembra 2019, sploh ni imel brisalcev.

 | Avtor: Tesla Tesla

Brisalci stikalo Funkcija "poskoka" Avto Ali veste, zakaj imajo brisalci funkcijo "poskoka"?

Ali se bo ta tehnologija pojavila na katerem od Teslinih prihodnjih vozil, tudi na cybertrucku, bomo morali vseeno še počakati. Pri Tesli naj bi razvijali tudi elektromagnetne brisalnike stekla. Omenja se, da bi bili elektromagnetni brisalci lažja in realnejša možnost za razvoj in proizvodnjo, zato jih bomo lahko kmalu videli na nekaterih vozilih znamke Tesla.
 

Komentarjev 2
  • jakec1575 10:47 19.september 2021.

    Ce imas prevec dnarja se gres tudi take neumnosti. Brisalec je zelo poceni resitev, ki ni prevec pokvarljiva. Pri lomu svetlobe na kapljicah, bo zanimivo gledat te lasetske resitve. Magneti pa tudi niso poceni in okoljsko so precej problematicni