Avto
6109 ogledov

Stellantis bi uvedel izpušni sistem za električne avte

Fiat 500e Anže Petkovšek Fiat 500e
Skrivnostni patent Stellantisa, ki predvideva izpušni sistem za avtomobile na baterijski pogon. Še več, dodali bi mu katalizator.

Izpušni sistem je stvar avtov z motorjem na notranje zgorevanje in naj z baterijskimi avti ne bi imeli nobene povezave.

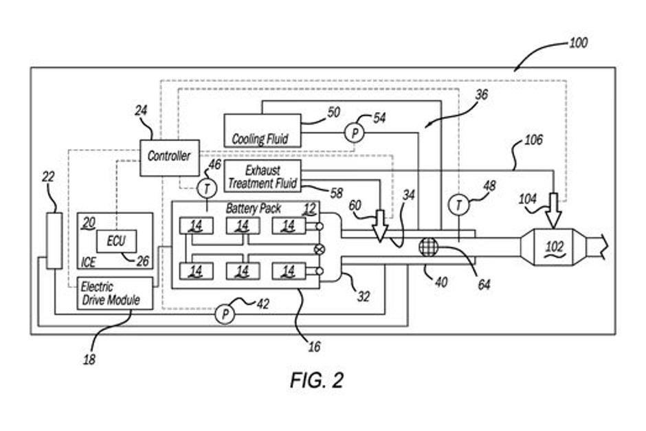
Vendar pa je koncern Stellantis storil ravno to - v ZDA je prijavil patent za izpušni sistem za električna vozila. Namen ni posnemanje klasičnega zvoka motorja, ampak povečanje varnosti pri upravljanju z baterijami.

Patent, imenovan 'Izpušni sistem za električna vozila', je bil 16. januarja 2025 objavljen pri ameriškem patentnem uradu (USPTO), poroča Auto, motor und sport.

Zakaj bi električna vozila potrebovala izpuh?

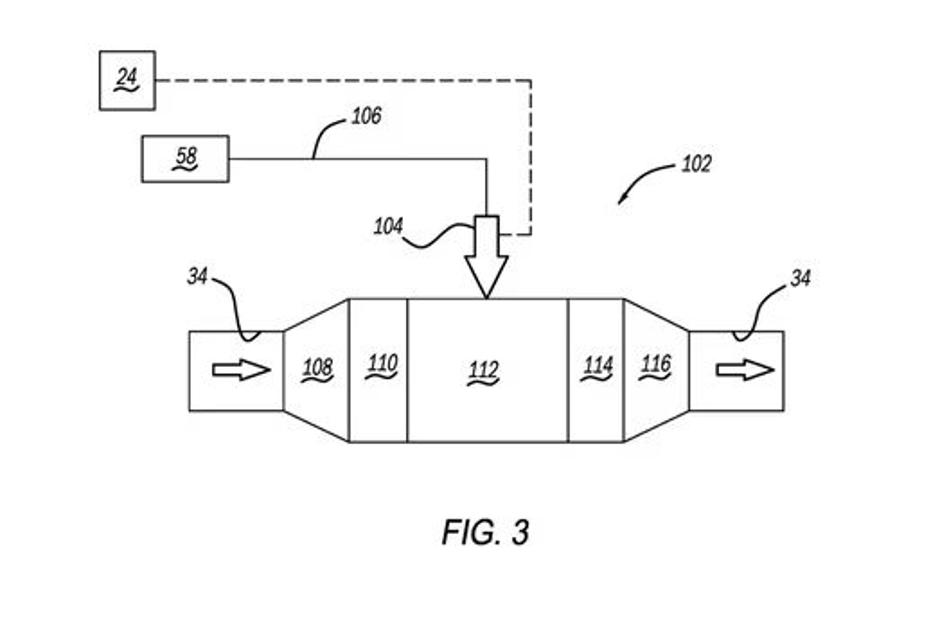
V patentni prijavi je zapisano, da bi se lahko baterije v primeru hudega trčenja ali močne poškodbe pregrele. Gre za pojav, ki ga nekateri imenujejo 'temperaturni preboj'. Ob tem lahko pride do sproščanja vnetljivih plinov, kot so vodik, metan, etan, propan in butan. In ti plini se pri visokih temperaturah lahko vnamejo.

Da bi preprečili tovrstne požare, Stellantis predvideva sistem za nadzorovano odvajanje teh plinov iz baterijskega sklopa. V patentu je razvidno, da bi izpušni sistem potekal skozi spodnji del vozila, kjer bi bili plini varno odvedeni proč od baterije.

Izpušni sistem za električne avte | Avtor: Ameriški patentni urad Ameriški patentni urad

Tudi električni avti s katalizatorjem

Da pa se plini ne bi vžgali za vozilom, bi jih lahko prej kemično obdelali s posebnim katalizatorjem. V patentni dokumentaciji je zapisano: "V izpušnem sistemu baterije plini prehajajo skozi več obdelovalnih območij. Tam se kemično obdelajo, iz njih se odstrani delež nevarnih sestavin ali pa se ta vsaj zmanjša."

Kdaj oziroma če sploh bomo videli Stellantisov sistem v praksi, je težko napovedati. Stellantis ima sicer v lasti znamke, kot so Peugeot, Citroën, Opel, Jeep, Chrysler, Fiat, Alfa Romeo, ...

Izpušni sistem za električne avte | Avtor: Ameriški patentni urad Ameriški patentni urad

Električna vozila so v osnovi zelo varna, verjetnost požara je pri njih statistično manjša kot pri klasičnih vozilih z motorji na notranje zgorevanje. Njihove baterije so pod strogim nadzorom elektronskih sistemov in opremljene s tekočinskimi hladilniki, ki skrbijo za optimalno temperaturo.

Kljub temu bi omenjeni sistem dodatno izboljšal varnost v skrajno redkih primerih nevarnosti toplotnega pobega.

Seveda pa tudi dodatno podražil izdelavo in vzdrževanje avtov.

dezurni@styria-media.si

Komentarjev 3
  • Sarahoe2342 22:30 18.junij 2025.

    🍓 Vroča dekleta čakajo na vas na 👉 𝗦𝗲𝘅𝘁𝗼.𝗹𝗶𝗳𝗲

  • sandi76 18:46 13.februar 2025.

    ... pa rezervoar za gorivo, pa....

  • Toma 18:05 13.februar 2025.

    Pa gretje blatnikov, pa…

Sorodne novice