Avto

Ste izvedeli kaj koristnega, novega, zanimivega… Kliknite tukaj in Žurnal24 izberite za svoj prednostni vir novic na Googlu.

Volkswagen želi odstraniti obvolansko stikalo, ki ga ima vsak avto

Volkswagen T-cross Saša Despot
Poglejte, s čim bi Volkswagen nadomestil klasično ročico za smerokaze.

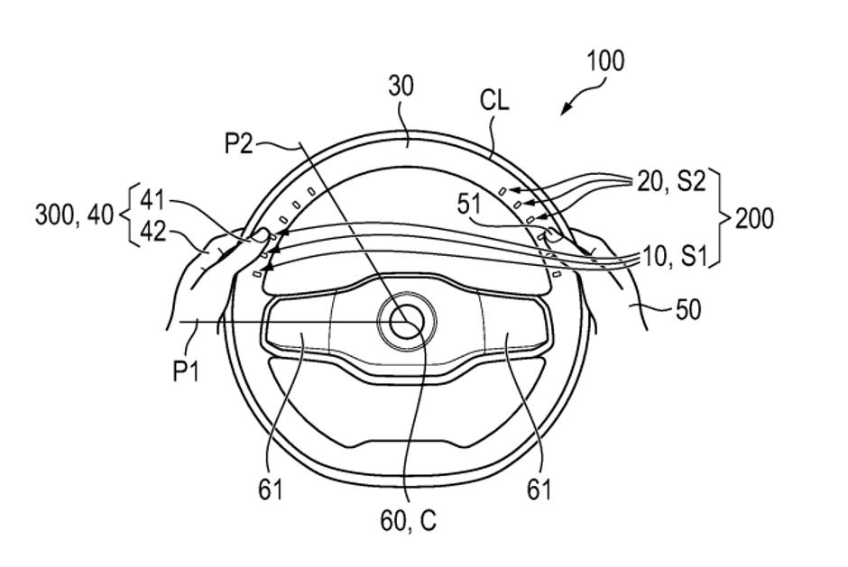
Pri Volkswagnu intenzivno razmišljajo o poenostavitvi upravljanja s smerokazi. Tako je v javnost prišel prijavljen patent pri nemškem patentnem uradu, ki kaže na povsem nov pristop.

Volkswagen je razvil volan, ki ima na obroču vgrajene različne gumbe. Po poročanju Car Buzz patent dovoljuje uporabo tako klasičnih fizičnih stikal kot tudi haptičnih površin, prek katerih bi voznik aktiviral in deaktiviral različne funkcije.

Te so pri Volkswagnu razdelili na dva nivoja, kot bolj in manj pomembne. Prve bi se aktivirale prek gumbov in stikal na levi strani, druge pa na desni strani volana. Hkrati bi na volanu zasvetila lučka, ki bi ponazarjala aktivacijo, na primer smerokaza, dolgega snopa luči, tempomata in podobno.

Med manj pomembne funkcije bi na primer sodilo hitro upravljanje z medijskim vmesnikom, kot je glasnost ali preskakovanje postaj. Patent dovoljuje različno število in kombinacijo stikal, kar omogoča uporabo pri širšem krogu modelov.

Volan patent | Avtor: Nemški patentni urad Nemški patentni urad

Ena od glavnih pridobitev tega pristopa je, da bi postale obvolanske ročice in tudi številna druga stikala nepotrebna. Čeprav se zdi ideja komplicirana, pa je sama izvedba dokaj enostavna, saj se osredotoča le na volan in pripadajoče ožičenje.

Pri Volkswagnu navajajo, da je cilj poenostavitev vožnje in povečanje varnosti, ker bi voznik manj odmikal roke z volana. Hkrati bi pridobili prostor, to pa bi omogočilo nove možnosti pri oblikovanju volana. Prav tako ni zanemarljiv stroškovni del, kajti s slovesom dodatnih sestavnih delov v obliki ročic in stikal bi proizvajalec pri izdelavi vsakega avta prihranil kar nekaj denarja.

Ideje o odpravi obvolanskih ročic niso nove, konec koncev je Tesla s svojim zdaj že slavnim 'yoke' volanom to že pripeljal v serijska vozila. Pri številnih uporabnikih pa se bo verjetno pojavilo vprašanje, zakaj spreminjati nekaj, kar je popolnoma v redu delovalo zadnjih približno 80 let, odkar se je v avtih prvič pojavila obvolanska ročica za smerokaze. 

dezurni@styria-media.si

Komentarjev 10
  • Jocelynyy1234 01:46 20.junij 2025.

    🍓 Vroča dekleta čakajo na vas na 👉 𝗦𝗲𝘅𝘁𝗼.𝗹𝗶𝗳𝗲

  • Boris 19:09 04.avgust 2023.

    Ne bo šlo.

  • Avatar Garancija
    Garancija 08:47 02.avgust 2023.

    Najbolš je avto,ki malo pokuri,je čistejši od bencinarja,avtomatik,opozorilo za menjavo pasu,aktivni avtomat,prostor za dva kolesa v avtu,in to je?